VIVO Black 32” Mobile Presentation Cart
WARNING!
If you do not understand these directions, or if you have any doubts about the safety of the installation, please call a qualified technician. Check carefully to make sure there are no missing or defective parts. Improper installation may cause damage or serious injury. Do not use this product for any purpose that is not explicitly specified in this manual. Do not exceed weight capacity. We cannot be liable for damage or injury caused by improper mounting, incorrect assembly or inappropriate use.
TIPOVER WARNING
SERIOUS OR FATAL CRUSHING INJURIES CAN OCCUR FROM TIPOVER. TO HELP PREVENT TIPOVER:
- NEVER ALLOW CHILDREN TO CLIMB, STAND, HANG, OR PLAY ON ANY PART OF CART.
- USE TIPOVER RESTRAINT OR ANCHOR CART TO WALL
USE OF TIPOVER RESTRAINTS MAY ONLY REDUCE, BUT NOT ELIMINATE RISK OF TIPOVER.
WARNING: CHOKING HAZARD
SMALL PARTS – NOT FOR CHILDREN UNDER 3 YEARS. ADULT SUPERVISION IS REQUIRED.
PACKAGE CONTENTS
- (x1) Desktop
- (x1) Support Frame
- (x1) Rear Support Bracket
- (x1) Crank Support
- (x1) Crank Handle
- (x1) Column
- (x1) Front Support Bracket
- (x1) Base.

DO NOT EXCEED WEIGHT CAPACITY. Failure to do so may result in serious injury.
ASSEMBLY STEPS
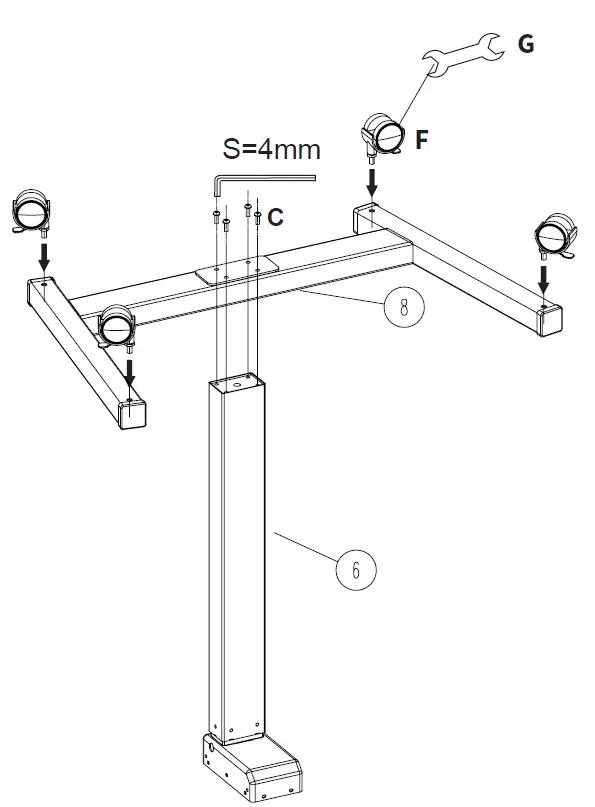
STEP 1
Assemble the base (8) to the column (6) using M6x16 bolts (C) and tighten with the Allen wrench (A). Screw the casters (F) into the base, and tighten using the wrench (G).
STEP 2
Place the support frame (2) on top of the column with the slots facing down and long end forward, making sure the pre-installed bolts on the column insert into the slots. Tighten bolts with Allen wrench (A).
STEP 3
Install the rear support bracket (3) and front support bracket (7) to the support frame (2) using x6 M6x12 bolts (B), and tighten with the Allen wrench (A).
STEP 4
Slide crank support (4) into the frame (3). Secure the crank support to the rear support bracket (3) using x6 M6x8 bolts (D). Tighten with Allen wrench (A) and slide the crank handle (5) into the support
STEP 5
Install the desktop (1) to the top of the frame using x6 M5x14 bolts (E) and tighten with a Phillips screwdriver.
STEP 6
Place monitor, keyboard, mouse and other items on the desk. Raise and lower the desk by turning the crank.
Open Monday – Friday 7:00am – 7:00pm CST,
our dedicated support team can offer immediate assistance with rapid response times. If any parts are received damaged or defective, please contact us. We are happy to replace parts to ensure you have a fully functioning product.
[email protected]
AVG. RESPONSE TIME (within office hrs): 1HR 8M
– 23% within < 15m
– 38% within < 30m
– 61% within < 1hr
– 83% within < 2hr
– 92% within < 3hr
www.vivo-us.com
AVG. RESOLUTION TIME (within office hrs): < 15 M
309-278-5303 AVG. RESOLUTION TIME (within office hrs): 5M 4S.

