VIDEX 4K-1S Audiokit 4K Series Audio Entry Kit Instruction Manual
GENERAL DIRECTIONS FOR INSTALLATION
In order to achieve the best results from the schematics described it is necessary to install only original VIDEX equipment, strictly keeping to the items indicated on each schematic and follow these General Directions for Installation:
- The system must be installed according to national rules in force, in any case the running of cables of any intercom unit must be carried out separately from the mains (see the next paragraph for connection to mains and power supply installation);
- All multipair cables should be compliant to CW1308 specification (0.5mm twisted pair telephone cable);
- Cables for speech line and service should have a max resistance of 10Ω;
- Lock release wires should be doubled up (Lock release wires and power supply wires should have a max resistance of 3Ω);
- The cables sizes above can be used for distances up to 50m. On distances above 50m the cable sizes should be increased to keep the overall resistance of the cable below the RESISTANCES indicated above;
- Double check the connections before power up; 3 Power up the system then check all functions
CONNECTION TO MAINS AND POWER SUPPLY MOUNTING INSTRUCTIONS
The system must be installed according to national rules in force, in particular we recommend to:
- Connect the system to the mains through an all-pole circuit breaker which shall have contact separation of at least 3mm in each pole and shall disconnect all poles simultaneously;
- The all-pole circuit breaker shall be placed for easy access and the switch shall remain readily operable.
POWER SUPPLY INSTALLATION
- Remove the terminal side covers by unscrewing the retaining screws;
- Fix the power supply to a DIN bar or directly to the wall using two expansion type screws;
- Switch off the mains using the circuit breaker mentioned above and then make the connections as shown on the installation diagrams;
- Check the connections and secure the wires into the terminals;
- Replace the terminal covers and fix them using the relevant screws;
- When all connections are made, restore the mains.
ART.4K2 2S

We recommend This equipment is installed by a Competent Electrician, Security or Communications Engineer
ART.3011-3012-3111
- Intercom
ART.321
- Transformer
ART.4836-1
- Front panel with built in audio amplifier
SE
- Electric lock (not included)
ART.4K2 2S

ART.3011-3012-3111
- Intercom
ART.321
- Transformer
ART.4836-1
- Front panel with built in audio amplifier
SE
- Electric lock (not included)
Wiring Guide Line
All intercoms wiring must run separately from the mains cable. The cable type should be CW1308 or an equivalent cable. The cable size should comply with the table below.
| DISTANCE METERS | CABLE SIZE (MM2) |
| 50 | 0.35 |
| 100 | 0.5 |
| 200 | 0.75 |
| 300 | 1.0 |
| 400 | 1.5 |
Max resistance of all lines: 8 Ohm
Before powering the system up, the wiring should be double checked to ensure it complies with the wiring diagram supplied.
TROUBLE SHOOTING
In the event of the system not functioning correctly when you power up, the following points can be checked (a multimeter will be needed).
SYSTEM DEAD
- Check mains input to the transformer.
- Check the 12Vdc (+12 terminal) output from the power supply.
- Check fuses.
- Check for shorts on power supply wires.
SPEECH & LOCK WORKS BUT NO ELECTRONIC CALL TONE
- Check the link between “C” and “C1” terminals of the speaker unit.
- Call wire to terminal “4” of the handset broken on in short circuit; check the walk of the call wire.
NO SPEECH FROM THE DOOR PANEL
- Check and/or adjust the volume operating on trimmers controls on rear of speaker unit.
- Check the wire from terminal “2” of the speaker unit to terminal “2” of the handset.
NO SPEECH FROM THE HANDSET
- Check and/or adjust the volume operating on trimmers controls on rear of speaker unit.
- Check the wire from terminal “1” of the speaker unit to terminal “1” of the handset.
LOCK DOES NOT WORK
- Check on the handset the link between terminals “1” and “5”.
- Check the 13Vac output on the transformer.
- Check the wires of the electric lock.
- Wires section not in conformity with the table above.
FEEDBACK PROBLEM (LARSEN EFFECT)
- Check that the handset microphone is firmly fitted inside its housing.
- Check that the speaker unit microphone is firmly fitted inside its housing and nothing is obstructing the microphone hole.
- Adjust the volume operating on trimmer controls on rear of the speaker unit.
HUM ON THE SPEECH LINES
- Check that system cables are not running close to any high voltage or mains cables.
- Check that the system is wired exactly as shown on the wiring diagram.
WE RECOMMEND THIS EQUIPMENT IS INSTALLED BY A COMPETENT ELECTRICIAN, SECURITY OR COMMUNICATIONS ENGINEER.
If further assistance is required, call the technical help desk on 0191-2243174 for uk customers or +39 0734631669 for other countries.
INSTALLING A SURFACE MOUNT DOOR STATION
- Place the surface box against the wall (165-170cm between the top of the box and the floor level as shown in Fig. 1) and mark the fixing holes for the wall plugs and the hole for the cables E (fig. 2). Observe the orientation of the box with the hinge on the left;


In order to prevent water ingress we highly recommend using a silicon sealant between the wall and the back box C (Fig.3) and around all holes D (Fig.3);

- As shown on Fig. 2, drill the fixing holes A, insert the wall plugs B and feed the cables E through the surface box opening D, fix surface box C to the wall using the screws F;
- Apply the Y silicon sealant on top of each module as shown in Fig. 4;

- Before installation of the module support frame, hook the modules G to the support frame H as shown in Fig. 5 then, as shown in Fig. 6, fit the two anti-tampering locks W for each module (do the same for the second module support frame);


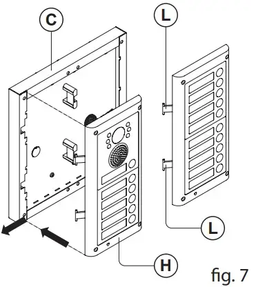
- When you have more than one support frame, hook the support frame to the surface box starting from the left. For convenience we will described how to attach the left frame but the same must be carried out for the right frame. As shown in Fig. 7, hook the module support frame H (complete with modules) to the surface box C moving the frame as suggested from pointers. Ensure that the pivots L (Fig. 7) go inside the relevant housing M as shown in Fig. 8;


- As shown on Fig. 9, pull back the module support frame H while moving it slightly to the left as suggested by the pointers;

- As shown in Fig. 10, open the module support frame H as suggested by the pointer, hook the hinge locks N to the hinges M, make the required connections using the screwdriver provided P (flat blade end) and make the required adjustment by adjusting the settings (through openings O) and adjust trimmers;

- Repeat the same operations described above for the second module support frame (or for the third if available);
- When the system has been tested and is working correctly, move back the module support frames carefully, fix them to the surface box using the screwdriver provided P (torx end) and the pin machine torx screws Q (Fig. 11). Note: do not over tighten the screws more than is necessary

INSTALLING A FLUSH MOUNTING DOOR STATION
When flush mounting and the number of modules is greater than 3, the required back boxes need to be linked together (before embedding them in the wall) as shown on Fig. 14, 15 and 16:


- Arrange the back boxes and remove knockouts to allow cables to be fed from one back box to the other;
- Hook the spacers to first back box then hook the second back box to obtain the result shown on Fig. 16;

- Protect the module support frame fixing holes from dust then embed the back box into the wall (165-170cm between the top of the box and the floor level as shown on the Fig. 1) feeding the cables E (Fig. 2) through a previously opened hole in the box. Observe the direction of the box ensuring the hinge is on the left and take care that the box profile is in line with the finished wall profile;
In order to prevent water ingress we highly recommend using a silicon sealant between the wall and the back box H (Fig.12);

- Continue from step 4 of surface mounting instructions , but at step 7 hook the hinge locks N as shown on Fig. 13

Note: if additional holes are made in the surface box, oxidation problems may appear unless the unprotected metal is coated with a protective paint.
NOTES
- The screwdriver’s blade has two sides, one flat and one torx, to select one of them unplug the blade from the screwdriver body and plug it into the required side.
The example shows the use of only one back box bottom hole for wires, this is done to keep file drawings clear. Naturally the installer can use the left hole or the right or both if required.
HOW TO REMOVE THE CARD NAME HOLDER
- To avoid damage to the module front plate, tape the side that will be in contact with the screwdriver blade;
- lnsert the screwdriver (flat side) into the card-holder hole as shown in Fig. 17;

- Move the screwdriver to the left as shown in Fig. 18 to extract the card name holder;

- Edit the card name then replace it inside the holder and refit: insert the holder inside its housing from the left or right side then push the other side until it clips into place.
VIDEX ELECTRONICS S.P.A
Via del Lavoro, 1 – 63846 Monte Giberto (FM) Italy
Tel (+39) 0734 631669 – Fax (+39) 0734 632475
www.videx.it – [email protected]
Main UK office:
VIDEX SECURITY LTD
1 Osprey Trinity Park
Trinity Way
LONDON E4 8TD
Phone: (+44) 0870 300 1240
Fax: (+44) 020 8523 5825
www.videx-security.com
[email protected]
Northern UK office:
VIDEX SECURITY LTD
Unit 4-7
Chillingham Industrial Estate
Chapman Street
NEWCASTLE UPON TYNE – NE6 2XX
Tech Line: (+44) 0191 224 3174
Phone: (+44) 0870 300 1240
Fax: (+44) 0191 224 1559
Greece office:
VIDEX HELLAS Electronics
48 Filolaou Str.
11633 ATHENS
Phone: (+30) 210 7521028
(+30) 210 7521998
Fax: (+30) 210 7560712
www.videx.gr
[email protected]
Danish office
VIDEX DANMARK
Hammershusgade 15
DK-2100 COPENHAGEN
Phone: (+45) 39 29 80 00
Fax: (+45) 39 27 77 75
www.videx.dk
[email protected]
Benelux office:
VIDEX BENELUX
E3 Iaan, 93
B-9800 DEINZE
Phone: (+32) 9 380 40 20
Fax: (+32) 9 380 40 25
www.videxbenelux.be
[email protected]
COSTUMER SUPPORT
All Countries:
VIDEX ELECTRONICS S.P.A.
www.videx.it – [email protected]
Tel: +39 0734-631669
Fax: +39 0734-632475
UK Customers:
VIDEX SECURITY LTD
www.videx-security.com
Tech Line: 0191 224 3174
Fax: 0191 224 1559
The product is CE marked demonstrating its conformity and is for distribution within all member states of the EU with no restrictions. This product follows the provisions of the European Directives 2004/108/ECC (EMC); 2006/95/ECC (LVD) and 93/68/ECC (CE marking).
