Loading manuals...

truma DuoControl CS Gas Pressure Regulator with Crash Sensor for Two-Cylinder Manual


truma DuoControl CS Gas Pressure Regulator with Crash Sensor for Two-Cylinder Manual Image

truma DuoControl CS Gas Pressure Regulator with Crash Sensor for Two-Cylinder

Symbols used

The appliance may only be installed and repaired by an expert: Experts are persons who, based on their specialist instruction and training, their knowledge and experience with Truma products and the relevant standards, can carry out the necessary work properly and identify potential hazards.

Symbol indicates possible hazards.
Note containing information and tips.

Intended use

The DuoControl CS is a safety gas pressure regulator with automatic changeover for connecting to two gas cylinders for caravans and motor homes. The gas pressure regulator ensures a uniform output pressure of 30 mbar with a permissible inlet pressure range of 0.7 ­ 16 bar. DuoControl CS allows gas appliances to be operated while driving.

The integrated crash sensor (CS) interrupts the flow of gas in the event of an accident with directly acting deceleration of 4.0 g ± 1.0 g.

The DuoControl CS gas pressure regulator with safety valve is a single-stage gas pressure regulator. If the gas pressure regulator is not working properly, for example due to dirt or other foreign material on the valve, the safety valve opens and blows off to a pressure of 110 mbar.

Using the DuoControl CS in closed rooms (e.g. at home), on boats or in EX Zone 0 (e.g. tankers) is prohibited.

The national regulations must be observed if there is a possibility of it being used in mobile homes. Its use in mobile homes is prohibited in Germany.

An automatic PRV* safety device integrated in the DuoControl CS with limited flow protects the connected consumers against impermissibly high pressure. As soon as an impermissibly high pressure arises on the output side, the PRV opens and blows out the overpressure into the air. The PRV closes automatically after the pressure is reduced.

* = Pressure Relief Valve

DuoControl CS must not be used for commercial purposes.

Safety instructions

  • Do not connect any electrical appliances or other potential ignition sources if you can smell gas or if there is a leak in the gas system. Close the cylinder valves, have the gas system repaired by an expert immediately and do not open the cylinder valves in the meantime.
  • The use of upright gas cylinders from which gas is extracted in the gas phase is mandatory when operating the DuoControl CS gas pressure regulator. Gas cylinders from which gas is taken in the liquid phase (e.g. for fork lifts) must not be used, since they would result in damage to the gas system.
  • A gas filter must be installed upstream of the gas pressure regulator to provide reliable protection against dirt / oiling. A set of operating and installation instructions is supplied with the gas filter
  • High-pressure hoses with hose rupture protection (HRP) are mandatory for connecting the gas cylinders to the gas pressure regulator or the gas filters. For this, Truma provides the necessary high-pressure hoses with the most commonly-used connection variants for European gas cylinders (see www.truma.com).
  • In normal conditions of use, in order to ensure correct operation of the installation it is recommended that this device is changed within 10 years of the date of manufacture. National regulations must be observed.The operator is responsible for this.

Operating the gas system while driving: ­

  • The appliance manufacturer’s instructions must be followed before operating a liquid gas appliance while driving.
  • For heating while driving, the regulation (EC) No. 661/2009 and the binding UN/ECE regulation R 122 stipulate a safety shut-off device for motor homes and caravans.

The DuoControl CS gas pressure regulator satisfies this requirement.

Installing a safety shut-off device such as the DuoControl CS gas pressure regulator with appropriately configured gas installation means that a type-tested liquid gas heater may be used in line with the aforementioned regulation while driving throughout Europe. National regulations and rules must be followed.

  • For vehicles manufactured before 01/2007 there are no restrictions for operating the gas system while driving*.
    * Except for France:
    In France, operation of a gas system while driving is only permitted in type-tested vehicles with first registration as of 01.01.2007. In older vehicles operation of the gas system while driving is also not permitted in combination with a safety shut-off device.
  • Gas cylinders that are not connected to the gas installation must be closed at all times and provided with protection caps. Connected gas cylinders are considered to be operating materials and not hazardous materials (ADR exemption in accordance with sections 1.1.3.1 and 1.1.3.2 e).

Operating instructions



  1. = Cylinder valve
  2. = Gas cylinder
  3. = Hose rupture protection (HRP)
  4. = High-pressure hose
  5. = Gas filter
  6. = DuoControl CS
  7. = Yellow reset button of the crash sensor
  8. = Steel / copper tube
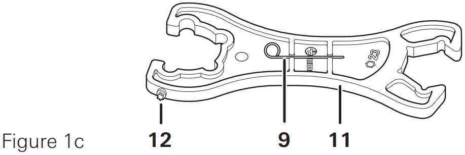
  9. = Triggering element for the crash sensor
  10. = Screw cap (test connection)
  11. = Screw aid a/f 23 / KF
  12. = Torx T20 (on the screw aid)
  13. = Control knob for operating cylinder / reserve cylinder
  14. = Status display ­ operating cylinder / reserve cylinder (green / red)

Start-up

  • Open the gas remote switch if present.
  • Connect the gas cylinders (2) and make sure all hose connections are in good condition.
  • Open the valves on both gas cylinders (1).
  • Firmly press the hose rupture protection (figure 1a – 3) on the high-pressure hose for about 5 seconds. The display in the inspection glass (14) turns green.
  • If the yellow reset button (7) is not pressed (“not ready for operation” position), reset the crash sensor
  • For example, turn control knob (13) to the left as far as possible (left connection = operating cylinder).

Crash sensor

The crash sensor has a reset button, the position of which indicates its status: “Ready for operation” position (Figure 2a) or “not ready for operation” position (Figure 2b).

To reset, press the yellow reset button (7) firmly, turn it slightly clockwise, hold it for 10 seconds and ensure that it stays in the “ready for operation” position (Figure 2a).

If the reset is not successful, use the Torx T20 (12) on the screw aid (11) to support the clockwise rotation.

Changeover

If the pressure in the operating cylinder drops to below 0.4 bar, DuoControl CS automatically switches over to take gas from the second gas cylinder. The indicator in the inspection glass turns red.

In extreme cold or when a large amount of gas is consumed from the operating cylinder over a long period of time, the gas pressure may fall below 0.4 bar even though there is still some gas left in the gas cylinder. This may result in gas being taken from both gas cylinders simultaneously.

If necessary, use the control knob (13) to manually select which gas cylinder will be operating and which will be held in reserve.

Always turn the control knob (13) as far to the left or right as it will go (an intermediate position will cause gas to be removed from both gas cylinders simultaneously). We recommend not operating the cylinder if the control knob is in the intermediate position.

Removal status

In the normal position (operating cylinder on the left, reserve cylinder on the right), the following display will be seen: ­ – Status display (14) is green = gas taken from the left cylinder (operating cylinder).

– Status display (14) is red = gas is taken from the right cylinder (reserve cylinder); check the connection and fill level of the left cylinder.

Changing the gas cylinder

Use the included screw aid (11) to attach and remove the high-pressure hoses (4). It will help you generate the necessary tightening torque and will prevent damage to the union that may otherwise result from using an improper tool.

Residual gas: No smoking, no naked flames!

  • Close the valve (1) of the empty gas cylinder (2).
  • Remove the high-pressure hose (4) from the gas cylinder (2) and remove the clip-on adapter, if present
  • Attach the high-pressure hose to the full gas cylinder and fit the clipon  adapter, if present. Change the filter pad of the gas filter.
  • Open the full gas cylinder’s valve (1)
  • Press the hose rupture protection (figure 1a – 3) and if necessary the yellow reset button (7), turn it slightly clockwise and hold it for 10 seconds.

After any intervention, check the hose connection to the cylinder valve for leaks (see “Checking for leaks in the high-pressure section”).

Hose change

Use the included screw aid (11) to attach and remove the high-pressure hoses. It will help you generate the necessary tightening torque and will prevent damage to the union that may otherwise result from using an improper tool.

Residual gas: No smoking, no naked flames!

– Close the gas cylinder valve (1).

– Unscrew the high-pressure hose (4) from the gas cylinder (2 / or the
clip-on adapter) and from the gas filter / DuoControl CS inlet.

When changing the hose, ensure that the seal provided with the hose (hose outlet ­ gas filter / regulator inlet) is correctly installed and is not damaged.

We recommend that the flat gasket G 13 (part no. 50020-76300) be replaced every time the hose is changed.

  • Screw the country-specific high-pressure hose (4) to the gas filter (5) / DuoControl CS inlet and to the cylinder (2 / or the clip-on adapter).
  • Open the gas cylinder valve (1)
  • Press the hose rupture protection (figure 1a – 3) and if necessary the yellow reset button (7), turn it slightly clockwise and hold it for 10 seconds.
  • Check the hose connection on the cylinder valve and on the Gas filter / DuoControl CS inlet for leaks after every intervention (see “Checking for leaks in the high-pressure section”).

Using only one gas cylinder

You can also use DuoControl CS with only one gas cylinder. Non-return valves integrated into the inlet connection prevent gas from escaping through the unused connection.

The free inlet must be sealed off using the provided blind cover (brass) if only one cylinder is being used.

– Turn the control knob (13) towards the operating cylinder. EN 31

Checking for leaks in the high-pressure section

The unions of the high-pressure hoses at the gas cylinder valve and on the gas filter / DuoControl CS must be checked for leaks using suitable means such as a leak-finder spray in accordance with EN 14291. The operator is responsible for this.

Checking for leaks in the low-pressure section

(maximum test pressure 150 mbar)

The test must be conducted by a technician

The gas hose and gas cylinder must be connected. ­

  • Turn off all consumers.
  • Open stop valves and, if present, the gas remote switch.
  • Press in the triggering element of the crash sensor (9) sufficiently far that the yellow reset button (7) comes out so that the crash sensor is in the “not ready for operation” position (figure 2b).
  • Remove the screw cap (10) from the test connection and connect the test pump with test hose to the test connection.
  • Check for leaks (e.g in Germany in accordance with G 607).
  • If there is a gas system leak, close the cylinder valves, have the gas system repaired by an expert immediately and do not open the valves any more in the meantim
  • Unscrew the pump from the test connection and screw the screw cap back onto the test connection.
  • Press the yellow reset button (7), turn it slightly clockwise, hold it for 10 seconds and ensure that it remains in the “ready for operation” position (see Figure 2a)
  • It is essential to reattach the screw cap (10) every time after it has been removed.

Maintenance

The DuoControl CS gas pressure regulator is maintenance-free.

The vehicle owner must arrange for the gas system to be tested in accordance with the relevant national regulations (e.g. in Germany every 2 years) by a liquid gas expert. The test must be confirmed on the respective test certificate (G 607).

In countries where testing is not mandatory, we recommend that the gas system be tested every 2 years for your own safety.

The filter pad in the gas filter must be replaced every time the gas cylinder is replaced (see gas filter operating instructions).

Accessories

High-pressure hoses (part no. list – see www.truma.com) with hose rupture protection and country-specific connections
Flat gasket G.13 (part no. 50020-76300) for high-pressure connection, M20 x 1.5 (G.13)
Plug-fit EisEx 12 V (part no. 53101-01)
Additional kit DuoC (part no. 50020-61100) required when gas cylinders separated by more than 100 cm.
Remote indicator DuoC (part no. 50212-01)
Gas remote switch GS 8 (part no. 57014-01)
Gas remote switch GS 10 (part no. 57024-01) both for shutting off the gas supply from inside the vehicle
Gas filter (part no. 50603-01) suitable for all wall-mounted gas pressure regulators with inlet fitting M20 x 1.5 (male thread – G.13). Install upstream of the gas pressure regulator.
Gas filter kit, 2 pcs. (part no. 50603-02)

Technical data

(determined in accordance with EN 16129:2013 or Truma test conditions)

Gas type
Liquefied gas (propane / butane)
Admission pressure
0.7 – 16 bar
Output pressure
30 mbar
Regulator capacity
1.5 kg/h
Regulator inlet
Male thread M20 x 1.5 (G.13)
Regulator outlet
Olive screw connection 8 mm or 10 mm (H.9)
Recommended tightening torque
3 – 5 Nm for union nut M20 x 1.5 (G.13);
14 – 19 Nm for olive screw connection 8 mm;
16 – 21 Nm for olive screw connection 10 mm
Horizontal triggering value
4.0 g ± 1.0 g
Operating temperature
-20 °C to +50 °C
Product ID number: CE-0085CT0438

Manufacturer’s Warranty (European Union)

Scope of Manufacturer’s Warranty

As the Manufacturer of the appliance, Truma undertakes a warranty towards the Consumer that covers any material and/or manufacturing defects of the appliance.

This warranty is applicable in EU member states as well as the United
Kingdom, Iceland, Norway, Switzerland and Turkey. A Consumer is the natural person who was the first one to purchase the appliance from the Manufacturer, OEM or dealer and who neither resold the appliance in a commercial or self-employed professional capacity nor installed it for a third party in such a capacity

The Manufacturer’s Warranty covers any of the aforementioned defects that occur within 24 months upon concluding the purchase agreement between the seller and the Consumer. The Manufacturer or an authorised service partner undertakes to remedy such defects through subsequent fulfilment, i.e. at its discretion either by repairing or replacing the defective item. Defective parts shall become the property of the Manufacturer or the authorised service partner. If the appliance is no longer manufactured at the time of defect notification and if replacement delivery has been opted for, then the manufacturer may deliver a similar product.

If the Manufacturer remedies a defect under its Warranty commitment, the term of the Warranty shall not start again with regard to the repaired or replaced parts; rather, the original warranty period shall continue to be applicable to the appliance. Only the Manufacturer itself and an authorised service partner shall be entitled to conduct a warranty job. Any costs that occur in the event of a warranty claim shall be settled directly between the authorised service partner and the Manufacturer. The Warranty does not cover additional costs arising from complicated removal or installation jobs on the appliance (e.g. dismantling of furnishings or parts of the vehicle body), and neither does it cover travel expenses incurred by the authorised service partner or the Manufacturer.

No further-reaching claims shall be permitted, especially damage claims presented by the Consumer or third parties. This shall not affect the provisions of the German Product Liability Act (Produkthaftungsgesetz).

The voluntary manufacturer’s warranty does not affect the consumer’s legally valid claims for defects against the seller in the relevant country of purchase.
In individual countries there may be warranties that can be issued by the relevant dealer (official distributor, Truma Partner). In such cases the warranty can be implemented directly through the dealer from whom the Consumer bought the appliance. The warranty regulations of the country in which the appliance was purchased by the Consumer for the first time shall also be applicable.

Warranty exclusions

No warranty claim shall be applicable under the following circumstances:

  • Improper, unsuitable, faulty or negligent use and any use that is not compliant with the intended purpose
  • Improper installation, assembly or commissioning, contrary to operating or installation instructions
  • Improper operation or operation contrary to operating or installation instructions, particularly any disregard for maintenance, care or warning notes,
  • Instances where installations, repairs or any other procedures have been conducted by non-authorised parties
  • Consumable materials and parts which are subject to natural wear and tear
  • Installation of replacement, supplementary or accessory parts that are not original manufacturer’s parts or which have not been approved by the manufacturer. This applies in particular if the appliance is subject to networked control, if the control units or the software have not been approved by Truma or if the Truma control unit (e.g. Truma CP plus or Truma iNet Box) has not been exclusively used for controlling Truma appliances or appliances approved by Truma.
  • As a consequence of damage arising from foreign substances (e.g. oil, or plasticisers in the gas), chemical or electrochemical influences in the water, or cases when the appliance has come into contact with unsuitable substances (e.g. chemical products, flammable substances or unsuitable cleaning agents)
  • Damage caused by abnormal environmental or unsuitable operating conditions
  • Damage caused by force majeure or natural disasters or any other influences not within Truma’s responsibility
  • Damage resulting from improper transport
  • End customer’s or third-party modifications of the appliance, including any replacement, supplementary or accessory parts, or installation of the same, especially concerning the exhaust gas system or the cowl.

Making a warranty claim

The warranty must be claimed with an authorised service partner or at the Truma Service Centre. All the relevant addresses and phone numbers can be found at www.truma.com, in the “Service” section.

The Manufacturer’s address is:
Truma Gerätetechnik GmbH & Co. KG
Truma Servicezentrum
Wernher-von-Braun-Straße 12
85640 Putzbrunn, Germany

To ensure a smooth procedure, we would be grateful if you could  have the following details ready before contacting us:

  • Detailed description of the defect
  • Serial number of the appliance
  • Date of purchase

The authorised service partner or the Truma Service Centre will then specify the further procedure. To avoid transport damage, the affected appliance must only be shipped by prior arrangement with the authorised service partner or the Truma Service Centre.

If the warranty claim is recognised by the Manufacturer, then the transport expenses shall be borne by the same. If no warranty claim is applicable, the Consumer will be notified accordingly and any repair and transport expenses shall then be the Consumer’s liability. We ask you not to send in an appliance without prior arrangement.

Should problems occur, please contact the Truma Service Centre or one of our authorised service partners (see www.truma.com). In order to avoid delays, please have the unit model and serial number ready (see type plate).

GmbH & Co. KG
Wernher-von-Braun-Straße 12
85640 Putzbrunn
Deutschland

Telefon +49 (0)89 4617-2020
Telefax +49 (0)89 4617-2159
[email protected]
www.truma.com



More Manuals From Truma