Active P-CAP Smart Pen
User Manual
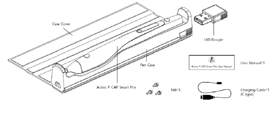
Components

Skizze Pen Driver Download
www.skizze.cn
Compatible with Windows and Android systems:
- Win7 SPL, Win8, Win10
- Android 6.0 and later
Notice: Win? and Win8 would be required to install .net4.6.
P-Cap Pen Functions Overview

| Name | Function |
| Shortcut key | Customize the functions of one-click / double-click |
| Motion Sensing Button | Mouse, Spotlight, Magnifier, Virtual laser pointer |
| Page Up Button | Page up, Play PPT (Customizable) |
| Page Down Button | Page down, Stop playing PPT (Customizable) |
| Erase Button | Eraser |
| Nib | Recognize the pressure of 4096 levels |
| Indicator Light | Disconnected, Connected, turning off Low battery |
| Charging Contacts | Charging |
Notice: In the static state, the pen will enter the power saving mode if there is no any operation for 3 minutes.
special version:
A dongle Bluetooth receiver(NXPD01) is used in conjunction with a pen, so it can’t be used alone, and it doesn’t need to be paired.
Charging

Connecting methods
The pen turns on, install SkizzePen software,and insert the USB HID dongle, pen will connect with the dongle, the pen led is white and the dongle led is green, now you can experience all of the functions. There is no pairs password. The device name is series No. as follows:

Replace the nib

Attention:
- The nib is a consumable item. Please replace the nib if you find it worn during use.
- When replacing the pen tip, rotate the pen tip to remove it, do not remove it directly.
Safety information
Please read carefully before use.
Don’t try to repair
Please do not try to disassemble, repair, or change the product accessories to prevent danger to you. If after-sales service personnel finds that the pen has signs of damage (such as disassembly, damage), your product will lose its warranty.
Keep away from children
The pen contains small parts, please keep the pen away from children and avoid children’s contact to prevent suffocation and other danger of personal injury.
Clean
Use wet tissue to clean the pen. Avoid touching the charging contacts with aerosols, solvents, abrasives, etc.
Battery
Do not disassemble the pen or replace the battery by yourself, which may be damaged or cause personal injury if accidentally dropped, squeezed, or come into contact with liquid. Battery replacement needs to be done by designated service personnel.
Operating environment
- Do not use the pen in humid, dusty, or magnetic fields, as it may cause the pen to malfunction.
- Please store the pen in an environment of -20 ° C to 40 ° C. If the temperature is too high or too low, it may cause equipment malfunction.
- Do not place the pen near fire or heat sources such as electric heaters, water heaters, candles, and other places that are prone to high temperatures.
Name and content of harmful substances in products
| Harmful substances | Components | |
| PCB | Accessory | |
| Pb | × | × |
| Hg | O | O |
| Cd | O | O |
| Cr(VI ) | O | O |
| PBB | O | O |
| PBDE | O | O |
Ο Indicates that the content of the harmful substances in all homogeneous materials of the part is below the limit requirement specified in GB/T 26572.
× Indicates that the content of the harmful substance in at least one of the homogeneous materials of the part exceeds the limit requirement specified in GB/T 26572-2011, but meets the environmental protection requirements of the EU RoHS Directive.
According to the Chinese electronic industry-standard SJ/T 11364-2014 and related Chinese government regulations, this product and some of its internal or external components may have an environmentally friendly use period mark, depending on the component and component manufacturer, the mark lifespan on the product and its components may vary. The expiration date on the component takes precedence over any conflicted or different UFUP labels on the product.

Note: The connection between the active capacitive pen and the Bluetooth adapter does not need to be paired, and can be automatically connected by power.
FCC Warning Statement Changes or modifications not expressly approved by the party responsible for compliance could void the user’s authority to operate the equipment. This equipment has been tested and found to comply with the limits for a Class B digital device, pursuant to Part 15 of the FCC Rules. These limits are designed to provide reasonable protection against harmful interference in a residential installation. This equipment generates uses and can radiate radio frequency energy and, if not installed and used in accordance with the instructions, may cause harmful interference to radio communications. However, there is no guarantee that interference will not occur in a particular installation. If this equipment does cause harmful interference to radio or television reception, which can be determined by turning the equipment off and on, the user is encouraged to try to correct the interference by one or more of the following measures:
- Reorient or relocate the receiving antenna.
- Increase the separation between the equipment and receiver.
- Connect the equipment into an outlet on a circuit different from that to which the receiver is connected.
- Consult the dealer or an experienced radio/TV technician for help.
This device complies with part 15 of the FCC Rules. Operation is subject to the following two conditions:
(1) This device may not cause harmful interference, and
(2) this device must accept any interference received, including interference that may cause undesired operation.
KOGA TOUCH CO., LTD
Disconnected,
Connected,
turning off
Low battery