RYOBI RY401018 20 Inch 40 Volt Lawn Mower Owner’s Manual
WARNING: To reduce the risk of injury, the user must read and understand the operator’s manual before using this product.
SAVE THIS MANUAL FOR FUTURE REFERENCE
See this fold-out section for all of the figures referenced in the operator’s manual.

A – Carrying/lifting handle
B – Battery cover
C – Height adjustment lever
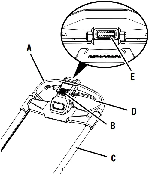
D -Handle
E – Handle lock lever
F – Bail
G – Start button
H – Grass catcher
I – Mulching plug
J – Start key
K – Side discharge chute
L – Self propel lever
M – Cruise control

A – Handle adjustment knob
B – Lower handle
C – To unlock
D – To lock

A – Frame
B – Bag
C – Handle
D – Vinyl floor
E – Clip

A – Clips
B – Hooks

A – Grass catcher handles
B – Rear discharge opening
C – Rear discharge door
D – Hooks

A – Rear discharge opening
B – Mulching plug
C – Tab
D – Slot

A – Mulch cover
B – Side discharge chute
C – Tab
D – Notch

A – Height adjustment lever
B – Lowest blade setting
C – Highest blade setting

A – Battery pack
B – Battery cover
C – Battery storage compartment
D – Latch
E – Battery port

A – Start key
B – Battery cover
C – Start key slot

A – Bail
B – Start button
C – Upper handle
D – Self propel lever
E – Cruise control

15° MAXIMUM


A – Blade
B – Wrench
C – Block of wood

A – Adaptor
B – Hub
C – Blade post (half circle)
D – Blade post (round)
E – Blade
F – Blade hole (half circle)
G – Blade hole (round)
H – Blade insulator
I – Spacer
J – Blade nut
K – Shaft
TO STORE THE MACHINE IN THE HORIZONTAL POSITION

TO STORE THE MACHINE IN THE VERTICAL POSITION

IMPORTANT SAFETY INSTRUCTIONS
WARNING:
READ AND UNDERSTAND ALL INSTRUCTIONS.
Failure to follow all instructions listed below and on the machine may result in electric shock, fire, and/or serious personal injury.
READ ALL INSTRUCTIONS
- This cutting machine is capable of amputating hands and feet and throwing objects. Failure to observe all safety instructions could result in serious injury or death.
- Avoid dangerous environment - Do not use the lawn mower in damp or wet conditions or operate in the rain.
- Keep children away - Keep all bystanders, children, and pets at least 100 ft. away. Stop machine if anyone enters the area.
- Tragic accidents can occur if the operator is not alert to the presence of children. Children are often attracted to the machine and the mowing activity. Never assume that children will remain where you last saw them.
- Keep children out of the mowing area and under the watchful care of a responsible adult other than the operator.
- Be alert and turn mower off if a child enters the area.
- Never allow children to operate the machine.
- Use extra care when approaching blind corners, shrubs, trees, or other objects that may block your view of a child.
- Dress properly - Wear heavy, long pants, long sleeves, gloves, and protective footwear that will protect your feet and improve your footing on slippery surfaces. Do not wear loose fitting clothing, short pants, sandals, or go barefoot. Do not wear jewelry of any kind. They can be caught in moving parts.
- Don’t overreach - Keep proper footing and balance at all times. Overreaching can result in loss of balance.
- Do not leave the mower unattended while running or with the start key installed.
- Keep hands and feet away from cutting area. Keep clear of the discharge opening at all times.
- Operate the lawn mower only in daylight or good artificial light.
- Use safety glasses - Always wear eye protection with side shields marked to comply with ANSI Z87.1. Use face mask if operation is dusty.
- Use the right appliance - Do not use the lawn mower for any job except that for which it is intended.
- Do not force the lawn mower - It will do the job better and safer at the rate for which it was designed.
- Do not charge batteries in rain, or in wet locations.
- Stay alert - Watch what you are doing and use common sense when operating the lawn mower. Do not operate the mower while tired, upset, or under the influence of drugs, alcohol, or medication. A moment of inattention while operating the lawn mower may result in serious personal injury.
- Maintain lawn mower with care - Keep machine in good working condition. Keep blades sharp and guards in place and in working order. Replace damaged or unevenly worn blades before using mower for best performance.
- Check all nuts, bolts, and screws at frequent intervals for proper tightness to be sure the equipment is in safe working condition. Mower blades are sharp. Wrap the blade or wear gloves, and use extra caution when servicing them.
- Do not dispose of the battery in a fire. The cell may explode. Check with local codes for possible special disposal instructions.
- Stop the motor, wait until the blade comes to a complete stop, and remove the start key and battery pack before performing any maintenance, cleaning the lawn mower, removing the grass catcher, or removing the mulching plug.
- Never use a hose, water, or any liquids to clean or rinse off the lawn mower. Corrosive liquids, water, fertilizers, and chemicals used to treat lawns can enter the lawn mower and/or battery compartment and damage electronic components and/or the battery pack, which can result in a short circuit, increased risk of fire, and serious personal injury. Remove any buildup of grass and leaves on or around the mower housing and/or underneath the mower deck. Wipe the mower clean with a dry cloth occasionally.
- Replace blade if it is bent or cracked. An unbalanced blade causes vibration that could damage the motor drive unit or cause personal injury. Sharpen a dull blade equally at each end to maintain the balance. Clean the blade thoroughly and check its balance by supporting it horizontally on a thin nail through its center hole. The nail should be in a horizontal position. If either end of the blade rotates downward, remove some metal from the heavy or lower end until the blade is balanced. It is balanced when neither end drops.
- Always use safety protective devices. Do not operate the mower without the entire grass catcher or mulching plug and rear discharge door in place and working properly.
- Do not open or mutilate the battery. Released electrolyte is corrosive and may cause damage to the eyes or skin. It may be toxic if swallowed.
- Follow manufacturer’s instructions for proper operation and installation of accessories. Only use accessories approved by the manufacturer.
- Exercise care in handling batteries in order not to short the battery with conducting materials such as rings, bracelets, and keys. The battery or conductor may overheat and cause burns.
- Clear the work area before each use. Remove all objects such as rocks, tree nuts, sticks, metal, wire, bones, toys, or other objects which can be thrown by the blade.Stay behind the handle when the motor is running.
- Prevent unintentional starting. Ensure the switch is in the off-position before connecting to battery pack, picking up or carrying the appliance. Carrying the appliance with your finger on the switch or energizing appliance that have the switch on invites accidents.
- When battery pack is not in use, keep it away from other metal objects, like paper clips, coins, keys, nails, screws or other small metal objects, that can make a connection from one terminal to another. Shorting the battery terminals together may cause burns or a fire.
- Under abusive conditions, liquid may be ejected from the battery; avoid contact. If contact accidentally occurs, flush with water. If liquid contacts eyes, additionally seek medical help. Liquid ejected from the battery may cause irritation or burns.
- Do not use a battery pack or appliance that is damaged or modified. Damaged or modified batteries may exhibit unpredictable behavior resulting in fire, explosion or risk of injury.
- Do not expose a battery pack or appliance to fire or excessive temperature. Exposure to fire or temperature above 265°F may cause explosion.
- Follow all charging instructions and do not charge the battery pack or appliance outside of the temperature range specified in the instructions. Charging improperly or at temperatures outside of the specified range may damage the battery and increase the risk of fire.
- Do not modify or attempt to repair the appliance or the battery pack (as applicable) except as indicated in the instructions for use and care.
- Avoid holes, ruts, bumps, rocks, property stakes, or other hidden objects. Uneven terrain could cause a slip and fall accident.
- Do not mow near drop-offs, ditches, or embankments.
- Mow across the face of slopes, never up and down. Exercise extreme caution when changing direction on slopes.
- Plan your mowing pattern to avoid discharge of material toward roads, sidewalks, bystanders and the like. Also, avoid discharging material against a wall or obstruction, which may cause the material to ricochet back toward the operator.
- Do not mow on wet grass or excessively steep slopes. Poor footing could cause a slip and fall accident. Walk, never run.
- Use extra care when approaching blind corners, shrubs, trees, or other objects that may block your view.
- Do not pull the mower backward unless absolutely necessary. If you must back the mower away from a wall or obstruction, first look down and behind to avoid tripping or pulling the mower over your feet.
- Never direct discharged material toward anyone. Avoid discharging material against a wall or obstruction. Material may ricochet back toward the operator. Stop the blade when crossing gravel surfaces.
- Objects struck by the lawn mower blade can cause severe injuries to persons. The lawn should always be carefully examined and cleared of all objects prior to each mowing.
- If the lawn mower strikes a foreign object, follow these steps:
- Stop the lawn mower by releasing the blade control lever, wait until the blade comes to a complete stop, and then remove start key.
- Thoroughly inspect the mower for any damage.
- Replace the blade if it is damaged in any way. Repair any damage before restarting and continuing to operate the mower.
- Stop the motor, wait until the blade comes to a complete stop, and remove start key before unclogging the chute. The cutting blade continues to rotate for a few seconds after the motor is shut off. Never place any part of the body in the blade area until you are sure the blade has stopped rotating.
- If the mower should start to vibrate abnormally, stop the motor, remove the start key, and check immediately for the cause. Replace the blade if it is unevenly worn or damaged in any way. Vibration is generally a warning of trouble.
- Service on the product must be performed by qualified repair personnel only. Service or maintenance performed by unqualified personnel could result in injury to the user or damage to the product.
- The grass catcher assembly is subject to deterioration and wear and should be checked each time the mower is used. If replacement is needed, make sure the new grass catcher meets original manufacturer’s recommendations and specifications.
- Use only authorized replacement parts when servicing the product. Use identical replacement blades only. Use of unauthorized parts may create a risk of serious injury to the user, or damage to the product.
- Maintain or replace safety instructions labels, as necessary.
- Disconnect battery and remove start key. Disconnect battery pack and remove start key from the appliance before storing, servicing, or changing accessories such as blades. Such preventive safety measures reduce the risk of starting the tool accidentally.
- Stop the unit and disconnect battery pack and start key when not in use. Carry or push the unit with the motor stopped and the start key removed from the mower.
- Battery tools do not have to be plugged into an electrical outlet; therefore, they are always in operating condition. Be aware of possible hazards when not using your battery tool or when changing accessories. Following this rule will reduce the risk of electric shock, fire, or serious personal injury.
- Do not use battery-operated appliance in rain.
- Remove or disconnect battery before servicing, cleaning or removing material from the gardening appliance.
- Use this product only with batteries and chargers listed in tool/appliance/battery pack/charger correlation supplement 988000-842.
- Store idle lawn mower indoors - When not in use, mower should be stored indoors in a dry, locked place out of the reach of children. The start key and battery packs should also be removed and stored in a separate location out of the reach of children.
- Follow instructions for lubricating and changing accessories.
- Only allow responsible adults, who are familiar with the instructions, to operate this machine.
- Never operate machine in a closed area.
- Never tamper with safety devices. Check for proper operation regularly.
- Do not store battery packs or lawn mower in locations where the temperature is less than 50°F or more than 100°F. Do not store outside or in vehicles.
- Do not use lawn mower in locations where the temperature is less than 40°F or more than 104°F.
- Use appliances only with specifically designated battery packs. Use of any other battery packs may create a risk of injury and fire.
- Save these instructions. Refer to them frequently and use them to instruct others who may use this product. If you loan someone this tool, loan them these instructions also.
SYMBOLS
| The following signal words and meanings are intended to explain the levels of risk associated with this product. | ||
| SYMBOL | SIGNAL | MEANING |
![]() |
DANGER: | Indicates a hazardous situation, which, if not avoided, will result in death or serious injury. |
![]() |
WARNING: | Indicates a hazardous situation, which, if not avoided, could result in death or serious injury. |
![]() |
CAUTION: | Indicates a hazardous situation, that, if not avoided, may result in minor or moderate injury. |
| NOTICE: | (Without Safety Alert Symbol) Indicates information considered important, but not related to a potential injury (e.g. messages relating to property damage). | |
| Some of the following symbols may be used on this product. Please study them and learn their meaning. Proper interpretation of these symbols will allow you to operate the product better and safer. | ||
| SYMBOL | NAME | DESIGNATION/EXPLANATION |
![]() |
Safety Alert | Indicates a potential personal injury hazard. |
![]() |
Read Operator’s Manual | To reduce the risk of injury, user must read and understand operator’s manual before using this product. |
![]() |
Eye Protection | Always wear eye protection with side shields marked to comply with ANSI Z87.1. |
![]() |
Wet Conditions Alert | Risk of fire and burns. Do not expose battery, battery compartment, or electronic components to rain, water, or liquids. Close cover during use. Do not operate on wet ground. |
![]() |
Electric Shock | Failure to use in dry conditions and to observe safe practices can result in electric shock. |
![]() |
Keep Hands and Feet Away | Keep hands and feet away from blade and cutting area. |
![]() |
No Reach | Do not reach hands or feet under mower deck. |
![]() |
No Slope | Do not operate on inclines greater than 15º. Mow across the face of slopes, never up and down. |
![]() |
Keep Children and Bystanders Away | Keep all children and bystanders at least 100 ft. away. |
![]() |
Ricochet | Thrown objects can ricochet and result in personal injury or property damage. |
![]() |
Recycle Symbol | This product uses lithium-ion (Li-ion) batteries. Local, state, or federal laws may prohibit disposal of batteries in ordinary trash. Consult your local waste authority for information regarding available recycling and/or disposal options. |
![]() |
Direct Current | Type or a characteristic of current |
| V | Volts | Voltage |
| A | Amperes | Current |
| Hz | Hertz | Frequency (cycles per second) |
| W | Watt | Power |
| hrs | Hours | Time |
FEATURES
PRODUCT SPECIFICATIONS
Motor ……………………… 40 Volt DC
Deck Size …………………. 20 in.
Height Adjustments………. 1-1/2 in. to 4 in.
Wheel Size………………… 8 in. front, 10 in. rear
KNOW YOUR LAWN MOWER
See Figure 1.
The safe use of this product requires an understanding of the information on the product and in this operator’s manual as well as a knowledge of the project you are attempting. Before use of this product, familiarize yourself with all operating features and safety rules.
BATTERY COVER
The battery cover protects the battery port from moisture and debris.
BATTERY STORAGE COMPARTMENT
The battery storage compartment offers a convenient place for storing your battery or to store an extra battery pack.
GRASS CATCHER
The grass catcher collects grass clippings and prevents them from being discharged across your lawn as you mow.
HEIGHT ADJUSTMENT LEVER
The height adjustment lever provides cutting height adjustments.
MULCHING PLUG
When installed, the mulching plug covers the rear discharge opening and allows the mower blade to cut and recut for finer clippings.
SELF-PROPELLED FEATURE
Pulling the levers upward to meet the handle turns on the self-propelled feature of your mower.
SIDE DISCHARGE CHUTE
The side discharge chute directs the clippings out of the mower deck when the grass is too tall for mulching.
START BUTTON AND BAIL
The start button and bail are located on the upper handle of the mower. Engage the bail then depress the start button to start the motor and blade.
NOTE: The motor and blades will also start if the start button is pressed first and the bail is engaged after.
START KEY
The start key must be inserted before the mower can be started.
TILT SENSOR
The tilt sensor prevents the unit from starting if it is in a vertical position or tilted at an angle greater than 45º.
VERTICAL STORAGE CAPABILITY
The folding handles allow for compact, upright storage in your garage.
ASSEMBLY
UNPACKING
This product requires assembly.
- Carefully remove the product and any accessories from the box. Make sure that all items listed in the packing list are included.
WARNING:
Do not use this product if any parts on the Packing List are already assembled to your product when you unpack it. Parts on this list are not assembled to the product by the manufacturer and require customer installation. Use of a product that may have been improperly assembled could result in serious personal injury.
- Inspect the product carefully to make sure no breakage or damage occurred during shipping.
- Do not discard the packing material until you have carefully inspected and satisfactorily operated the product.
- If any parts are damaged or missing, please call 1-800-525-2579 for assistance.
PACKING LIST
Lawn Mower
Start Key
Grass Catcher Bag and Frame
Mulching Plug
Side Discharge Chute
Operator’s Manual
WARNING:
If any parts are damaged or missing, do not operate this product until the parts are replaced. Use of this product with damaged or missing parts could result in serious personal injury.
WARNING:
Do not attempt to modify this product or create accessories not recommended for use with this product. Any such alteration or modification is misuse and could result in a hazardous condition leading to possible serious personal injury.
WARNING:
Do not insert start key or battery pack until assembly is complete and you are ready to mow. Failure to comply could result in accidental starting and possible serious personal injury.
WARNING:
To prevent accidental starting, do not make any adjustments or installations with the start key or battery pack inserted. Accidental starting of the mower during assembly could result in serious personal injury.
WARNING:
Never operate the mower without the proper safety devices in place and working. Never operate the mower with damaged safety devices. Operating the mower with missing or damaged parts can result in serious personal injury.
UNFOLDING AND ADJUSTING THE HANDLE ASSEMBLY
See Figure 2.
NOTICE:
Do not allow the starter cable to become pinched or trapped when raising the handle.
- Rotate the handle adjustment knobs 90 degrees.
- Raise the handle.
- Rotate the knob 90 degrees again to secure handle in place.
ASSEMBLING THE GRASS CATCHER
See Figures 3 – 4.
- Place the grass catcher frame on a flat surface with the handle facing down.
- Orient the grass catcher bag so the vinyl floor is facing up, then slide the bag onto the frame. When installing, allow the frame handle to remain outside the bag and make sure the bag seams are located at the frame edges.
- Pull the clip over the frame rail to secure in place.
- Lift the bag’s vinyl floor to the top of the frame rail and secure in place.
- Using the same method, attach the remaining clips on each side of the bag to the frame rail to secure.
INSTALLING THE GRASS CATCHER (FOR REAR BAGGING OPERATION)
See Figure 5.
- Remove start key and battery pack.
- Lift the rear discharge door.
- Lift the grass catcher by its handle and place under the rear discharge door so that the hooks on the grass catcher are seated onto the slots on the mower housing.
- Release the rear discharge door.
- Reinstall start key and battery pack when you are ready to mow.
INSTALLING THE MULCHING PLUG (FOR MULCHING OPERATION)
See Figure 6.
NOTE: When using the mulching plug, do not install the grass catcher.
- Remove start key and battery packs.
- Lift and hold the rear discharge door.
- Grasp the mulching plug by its handle and insert it at a slight angle, as shown.
- Push the mulching plug securely into place. The tabs on the mulching plug should be seated in the slots at the bottom of the rear discharge opening, and the slot on the mulching plug should go over the tab in the center of the discharge opening.
- Lower the rear discharge door.
- Reinstall start key and battery packs when you are ready to mow.
INSTALLING THE SIDE DISCHARGE CHUTE
See Figure 7.
The mower comes prepared for mulching with the spring-loaded mulching cover already in place. If side discharge is desired, install the side discharge chute.
NOTE: When using the side discharge chute, be sure the mulching plug is installed.
- Remove start key and battery pack.
- Open the side discharge opening by lifting and holding the mulching cover.
- Insert the side discharge chute as shown, aligning the two notches with the tabs on each side of the mulching cover.
- Lower the mulching cover until the tabs are seated into the notches on the side discharge chute.
- Reinstall start key and battery pack when you are ready to mow.
SETTING BLADE HEIGHT
See Figure 8.
When shipped, the blade on the mower is set to a low-cutting position. Before using the mower for the first time, raise the cutting position to the height best suited for your lawn. The average lawn should be between 1-1/2 in. to 2 in. during cool months and between 2 in. and 3-1/4 in. during hot months.
To adjust the blade height:
- Remove start key and battery pack.
- To raise the blade height, grasp the height adjustment lever and move it toward the back of the mower.
- To lower the blade height, grasp the height adjustment lever and move it toward the front of the mower.
- Reinstall start key and battery pack when you are ready to mow.
OPERATION
WARNING:
Do not allow familiarity with products to make you careless. Remember that a careless fraction of a second is sufficient to inflict serious injury.
WARNING:
Always wear eye protection with side shields marked to comply with ANSI Z87.1. Failure to do so could result in objects being thrown into your eyes resulting in possible serious injury.
WARNING:
Do not use any attachments or accessories not recommended by the manufacturer of this product. The use of attachments or accessories not recommended can result in serious personal injury.
WARNING:
Always inspect mower for missing or damaged parts and blade for damage, uneven, or excessive wear prior to use. Use of the mower with damaged or missing parts can result in serious personal injury.
WARNING:
Always remove battery packs and start key from your tool when you are assembling parts, making adjustments, cleaning, or when not in use. Following these instructions will prevent accidental starting that could cause serious personal injury.
NOTICE:
Before each use, inspect the entire product for damaged, missing, or loose parts such as screws, nuts, bolts, caps, etc. Tighten securely all fasteners and caps and do not operate this product until all missing or damaged parts are replaced. Please contact customer service or an authorized service center for assistance.
APPLICATIONS
You may use this product for the purpose listed below:
- Mowing your lawn
WARNING:
Always remove battery packs and start key when moving or transporting the mower to avoid accidental starting that could result in serious personal injury.
INSTALLING/REMOVING BATTERY PACK
See Figure 9.
- Raise the battery cover.
- Align raised ribs on battery pack with grooves in the battery port and install the battery pack into the mower.
WARNING:
Make sure the latch on the bottom of the battery pack snaps in place and the battery pack is fully seated and secure in the mower’s battery port before beginning operation. Failure to securely seat the battery pack could cause the battery pack to fall out, resulting in serious personal injury.
- Lower the battery cover and make sure it is securely closed.
To remove battery pack:
- Raise the battery cover.
- Press and hold the battery latch button at the bottom of the battery pack.
- Remove battery pack from the mower.
- Lower the battery cover and make sure it is securely closed.
For complete charging instructions, refer to the Operator’s Manuals for your RYOBI battery pack and charger models.
WARNING:
To avoid accidental starting that could result in serious personal injury, always remove the start key when moving or transporting the mower.
NOTE: The battery storage compartment offers a convenient place for storing your battery, or to store an extra battery pack. The unit cannot be powered by the battery while it is installed in the battery storage compartment; it must be moved to the battery port in order to power the unit from the battery port.
STARTING/STOPPING THE MOWER
See Figures 10 – 11.
NOTE: Mower will not start without the grass catcher or mulch plug attached, the start key installed, and the battery in the unit.
- Raise the battery cover.
- Install battery pack into the battery port.
- Insert the start key into the slot beside the battery storage compartment.
- Lower the battery cover. Raise the handle assembly as described earlier.
NOTE: The mower will not start if the handle assembly is not in the operating position. - Pull the bail toward the handle. Press and hold the start button to start the mower and blades.
NOTE: The motor and blades will also start if the start button is pressed first and the bail is engaged after. - To stop the mower, release the bail.
SELF-PROPELLED MOWING
See Figure 11.
WARNING:
Never engage the blade when transporting the mower from one location to another. Only engage the blade by pressing the start button when you are ready to mow. Failure to follow these instructions can result in serious personal injury.
- Once the mower has been started, the self-propelled feature is engaged by pulling one or both of the self-propel levers upward to meet the handle.
- To disengage the self-propelled feature, release the self-propel levers.
NOTE: The self-propelled levers can be used without engaging the blade to power the mower from one location to another. You must pull the bail and then one or both self-propel levers to move the mower without engaging the blade.
CRUISE CONTROL
See Figure 11.
WARNING:
Always adjust the cruise control before you engage the blade. Adjusting the cruise control while mowing may cause you to lose control and could result in serious injury while the blade is operating.
WARNING:
When using the self-propelled feature, ensure that the cruise control is set at a speed that you can comfortably follow when walking behind the mower. You may lose control of the mower if the cruise control is set at a speed that is too fast for your walking pace. Release the self-propel levers and bail if you cannot keep up with the mower and adjust the cruise control as needed. Failure to follow these instructions can result in serious personal injury.
By sliding the cruise control button on the handle, you can adjust the speed of the mower to accommodate your pace when the self-propelled feature is engaged. When viewed from the normal operating position, the cruise control button is at minimum self propelled speed at the far left side and is at the maximum self propelled speed at the far right side.
MOWING TIPS
WARNING:
Do not mow on wet grass, which can cause you to slip and fall and result in possible serious personal injury.
NOTE: Fully charge battery before each use for optimal runtime.
- Make sure the lawn is clear of stones, tree nuts, sticks, wires, and other objects that could damage the lawn mower blades or motor. Do not mow over property stakes or other metal posts. Such objects could damage the blade or be accidentally thrown by the mower in any direction and cause serious personal injury to the operator and others.
- For a healthy lawn, always cut off one-third or less of the total length of the grass.
- When cutting heavy grass, reduce walking speed to allow for more effective cutting and a proper discharge of the clippings.
- Do not cut wet grass. It will stick to the underside of the deck and prevent proper bagging or mulching of grass clippings.
- New or thick grass may require a narrower cut or a higher cutting height.
- Clean the underside of the mower deck after each use to remove grass clippings, leaves, dirt, and any other accumulated debris.
NOTE: Always stop mower, allow blades to completely stop, remove the start key and remove the battery pack from the battery port before cleaning underneath the mower.
SLOPE OPERATION
See Figure 12.
WARNING:
Slopes are a major factor related to slip and fall accidents that can result in severe injury. Operation on slopes requires extra caution. If you feel uneasy on a slope, do not mow it. For your safety, do not attempt to mow slopes greater than 15 degrees and mow across the face of slopes, not up and down.
- Mow across the face of slopes, not up and down. Exercise extreme caution when changing direction on slopes.
- Watch for holes, ruts, rocks, hidden objects, or bumps which can cause you to slip or trip. Tall grass can hide obstacles. Remove all objects such as rocks, tree limbs, etc., which could be tripped over or thrown by the blade.
- Always be sure of your footing. A slip and fall can cause serious personal injury. If you feel you are losing your balance, release the upper blade control lever immediately.
- Do not mow near drop-offs, ditches, or embankments; you could lose your footing or balance.
EMPTYING THE GRASS CATCHER
See Figure 13.
- Stop the mower and allow the blades to completely stop.
- Open the battery cover.
- Remove the start key and battery pack from the battery port.
- Lift the grass catcher by its handle to remove from mower.
- Empty grass clippings.
- Reinstall the grass catcher as described earlier in this manual.
- Reinstall the start key and battery pack when you are ready to mow.
MAINTENANCE
WARNING:
Before performing any maintenance or cleaning the lawn mower, make sure the mower blades come to a complete stop and the batteries and start key are removed to avoid accidental starting and possible serious personal injury.
WARNING:
Always wear eye protection with side shields marked to comply with ANSI Z87.1. Failure to do so could result in objects being thrown into your eyes resulting in possible serious injury.
WARNING:
When servicing, use only authorized replacement parts. Use of any other parts can create a hazard or cause product damage.
WARNING:
Never use a hose, water, or any liquids to clean or rinse off the lawn mower. Corrosive liquids, water, fertilizers, and chemicals used to treat lawns can enter the lawn mower and/or battery compartment and damage electronic components and/or the battery pack, which can result in a short circuit, increased risk of fire, and serious personal injury. Remove any buildup of grass and leaves on or around the mower housing and/or underneath the mower deck. Wipe the mower clean with a dry cloth occasionally.
NOTICE:
Periodically inspect the entire product for damaged, missing, or loose parts such as screws, nuts, bolts, caps, etc. Tighten securely all fasteners and caps and do not operate this product until all missing or damaged parts are replaced. Please contact customer service or an authorized service center for assistance.
GENERAL MAINTENANCE
Avoid using solvents when cleaning plastic parts. Most plastics are susceptible to damage from various types of commercial solvents and may be damaged by their use. Use clean cloths to remove dirt, dust, oil, grease, etc.
WARNING:
Do not at any time let brake fluids, gasoline, petroleum-based products, penetrating oils, etc., come in contact with plastic parts. Chemicals can damage, weaken, or destroy plastic which can result in serious personal injury.
LUBRICATION
All of the bearings in this product are lubricated with a sufficient amount of high grade lubricant for the life of the unit under normal operating conditions. Therefore, no further bearing lubrication is required.
WARNING:
Always protect hands by wearing heavy gloves and/or wrapping the cutting edges of the blade with rags and other material when performing blade maintenance. Contact with the blade could result in serious personal injury.
REPLACING THE CUTTING BLADE
See Figures 14 – 15.
NOTE: Only use authorized replacement blades.
- Stop the motor and remove the start key. Allow blade to come to a complete stop.
- Remove the battery pack from the battery port.
- Turn the mower on its side.
- Wedge a block of wood between the blade and mower deck to prevent the blade from turning.
- Loosen the blade nut by turning it counterclockwise (as viewed from bottom of mower) using a 15 mm wrench or socket (not provided).
- Remove the blade nut, spacer, blade insulator, and blade.
- Place the new blade on the shaft against the blade posts. Ensure blade is properly seated with shaft going through center blade hole and the two blade posts inserted into their respective holes on the blade. Make sure it is installed with the curved ends pointing up toward the mower deck and not down toward the ground. When seated properly, the blade should be flat.
- Replace the blade insulator and spacer, then thread the blade nut on the shaft and finger tighten.
NOTE: Make certain all parts are replaced in the exact order in which they were removed. - Torque the blade nut down clockwise using a torque wrench (not provided) to ensure the bolt is properly tightened. The recommended torque for the blade nut is 310 - 360 in.lbs.
WARNING:
Ensure blade is properly seated and the blade nut is tightened to the torque specifications above. Failure to properly attach the blade could cause it to come loose and result in possible serious personal injury.
STORING THE MOWER
See Figures 16 – 17.
WARNING:
Remove all battery packs from the battery port and battery storage compartment and start key and store indoors in a secure and dry location out of the reach of children to prevent unauthorized use of the lawn mower and possible serious personal injury.
- Before storage, wipe any dirt or debris from the battery area.
- Turn mower on its side and clean grass clippings that have accumulated on the underside of the mower deck.
- Wipe the mower clean with a dry cloth.
- Check all nuts, bolts, knobs, screws, fasteners, etc., for tightness.
- Inspect moving parts for damage, breakage, and wear. Have repairs made on any damaged or missing parts. Check blade for damage, uneven, or excessive wear and replace blade if these conditions exist.
- Store mower indoors in a clean, dry place out of the reach of children.
- To store the mower in a horizontal position, lower the handle assembly. Avoid pinching or trapping any cables.
- To store the mower in a vertical position, remove the grass bag, then lower the handle assembly. Avoid pinching or trapping any cables. Raise the mower 90° to rest on its rear support.
NOTE: Make sure the pins on the handle adjustment knobs are fully locked before attempting to raise the mower to the standing position.
NOTICE:
Do not allow the starter cable to become pinched or trapped when lowering the handle.
- Do not store near corrosive materials such as fertilizer or rock salt.
TROUBLESHOOTING
IF THESE SOLUTIONS DO NOT SOLVE THE PROBLEM CONTACT YOUR AUTHORIZED SERVICE DEALER.
| PROBLEM | POSSIBLE CAUSE | SOLUTION |
| Mower cutting grass unevenly. | Lawn is rough or cutting height not set properly. | Adjust the cutting height. |
| Mower not mulching properly. | Wet grass clippings sticking to the underside of the deck. | Wait until the grass dries before mowing. |
| Mower hard to push. | High grass, rear of mower housing and blade dragging in heavy grass, or cutting height too low. | Raise cutting height. |
| Mower not bagging properly. | Cutting height set too low. | Raise cutting height. |
| Mower vibrating at higher speed. | Blade is unbalanced, excessively or unevenly worn. | Replace the blade. |
| Motor stops while cutting. | Cutting height set too low. | Raise the cutting height. |
MAKE THE MOST OF YOUR PURCHASE!
Go to http://register.ryobitools.com and register your new tool on-line.
Your product has been fully tested prior to shipment to ensure your complete satisfaction.
For any questions about operating or maintaining your product, call the RYOBI Help Line!
This product has a Five-year Limited Warranty for personal, family, or household use (90 days for business or commercial use).
For warranty details, visit www.ryobitools.com
or call (toll free) 1-800-525-2579.
| • PARTS AND SERVICE: Prior to requesting service or purchasing replacement parts, please obtain your item, manufacturing, and serial numbers from the product data plate. ITEM NO.* ________________ MANUFACTURING NO. ______________ SERIAL NO.________________ * Model/item number on product may have additional letters at the end. These letters designate manufacturing information and should be provided when calling for service.HOW TO OBTAIN REPLACEMENT PARTS: Replacement parts can be purchased online at www.ryobitools.com or by calling 1-800-525-2579. Replacement parts can also be obtained at one of our service centers. HOW TO LOCATE A SERVICE CENTER: Service centers can be located online at www.ryobitools.com or by calling 1-800-525-2579. HOW TO OBTAIN CUSTOMER OR TECHNICAL SUPPORT: To obtain customer or technical support please contact us at 1-800-525-2579. |
RYOBI is a registered trademark of Ryobi Limited and is used pursuant to a license granted by Ryobi Limited.
TECHTRONIC INDUSTRIES POWER EQUIPMENT
P.O. Box 1288, Anderson, SC 29622 USA
1-800-525-2579 • www.ryobitools.com
998000762
9-8-21 (REV:01)
FAQS
Is battery included?
Yes
Where can I find the model number of my mower?
The model number is located on a plate attached to the motor housing.
How do I change the cutting height?
To adjust the cutting height, loosen the height adjustment lever and adjust to desired level. Tighten lever when finished.
How do I install/remove side discharge chute?
To install or remove side discharge chute, grasp handle on top of side discharge chute and pull out or push in to secure in place. A spring loaded pin will hold it in place while mowing. A: To install or remove side discharge chute, grasp handle on top of side discharge chute and pull out or push in to secure in place. A spring loaded pin will hold it in place while mowing. A: To install or remove side discharge chute, grasp handle on top of side discharge chute and pull out or push in to secure in place. A spring loaded pin will hold it in place while mowing.
How do I change batteries?
Remove battery cover by sliding cover back towards rear of lawnmower until cover is clear of tabs that are holding cover down over battery compartment door (Fig 1). Lift cover off by pulling up (Fig 2). Remove old batteries by lifting up on battery pack until battery pack is clear of tabs that are holding battery pack down (Fig 9). Replace with two 40V MaxLithium batteries with keyed slots facing rearward (Fig 10). Slide battery pack down into compartment until tabs lock into place over battery pack (Fig 11). Replace battery cover by sliding cover back over tabs until cover is flush with lawnmower body
What is the average run time with 2 charged batteries?
About 1 1/2 hours per battery depending on conditions
how is the mulcher installed for the 20 in 6voilt 40 amp mower?
Remove the bag from the rear of the mower, insert the discharge plug that is supplied with the mower. Very quick and simple to do.
what are the overall dimensions
Folded up it’s 21”w x 15”d x 39” t standing on its end.
does it mulch?
It will mulch. You have to add an attachment.
how any batteries are included?
ONLY ONE bATTERY IS INCLUDED.
How much does it weigh?
Sgheck the shipping weight on line.
how do you wash the grass off of the deck?
Take out the battery, stand it up and hose it off.
model number?
There is also a model number and serial number for the battery and charger. Register these 3 items with Ryobi.
how much does it weight ? the info says rear wheel drive the reviews say front ? what is it ?
It is rear wheel drive. I don’t know the weight but it’s easy to use.
What’s the model number?
Yes
Will it thatch?
Yes It has a thatcher attachment.
Is the blade included?
Yes, the blade is included.
Are battery and charger included?
Yes
How long does the 6.0ah battery take to charge?
50 min to one hour with the rapid charger that should be included. Just let the battery rest for a few minutes before recharge if it warm or hot.












